AF底版

特長
❶ AF底版だけで「土荷重載荷」「重量化」「くさび効果」の3つの効果。マンホールの浮上を効率的に抑制します。

❷ 作業性・施工性が良く、通常のマンホールの施工と変わりません。
❸ 歩掛が変わらず、設計・積算も容易です。
❹ 底版の部材の変更のみでマンホールの耐震化が完了。その他費用の追加がなく経済的です。
❺ 土質条件に拘束されないため、全層が液状化層でもAF底版だけで浮上抑制効果を発揮します。
標準規格
(単位:mm)

● 形状

実験
● 軸方向耐圧試験
試験結果を表1に示します。

軸方向耐圧強さ試験結果(表1)

● 接合部の水密試験
試験結果を表2に示します。

接合部の水密性試験結果(表2)

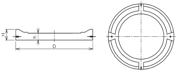
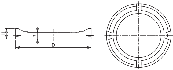
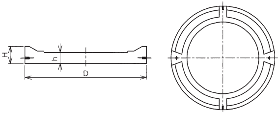
AFリング
特長
既設マンホール用 ・ 液状化によるマンホール 浮上抑制対策用リングです。
AFリングは、マンホールの外周部にコンクリー ト製リングを設置し、緊結プレートにより、リ ングとマンホールを一体化した構造で、リン グの自重およびリング上面の砕石埋戻し土に より、液状化で生じるマンホールの浮上を抑 制する製品です。
テーパー形状のAFリング(A)及びフラット 形状のAFリング(B)の2種類があります。 地下水位の高い現場や設置深さが深いマン ホールなど、液状化時に発生する浮力が大き い場合に、AFリング(B)を複数枚使用する ことでリング重量を増加させることができるの で、浮力に合わせた合理的な設計をすること が可能です。

● 形状

標準規格
(単位:mm)

※2、3号用は2分割形状としています。( )内数値は、1ピースの重量です。
● 標準掘削幅寸法表
(単位:mm)

AF-MRS
特長
新設・既設マンホール用 ・ 液状化によるマン ホール浮上抑制対策浅埋設用リング

❶ 浅埋設で簡単施工、かつ省コストです。
❷ 狭小道路でも容易に設置でき、ユニック施工が可能です。
❸ 線形なりに配置できるため、道路変曲点(曲線道路)でも 設置でき、設置の自由度を大きく向上させます。
標準規格
(単位:mm)

● 形状

実験
AF-MRSの品質は、社内試験(曲げ強さ試験)により、 自動車荷重が載荷しても問題がないことを確認しています。
