特長
❶ 宅地擁壁で高さ5mまでの一体構造で大臣認定を受けたプレキャストL型擁壁です。
❷ 設計水平震度は、大地震kh=0.25用で対応しています。中地震kh=0.20地区でも使用できます。
❸ 現・国立研究開発法人建築研究所で耐震実験等を行い、地震時の挙動や耐力を解析し、その結果を反映した高品質・高性能の製品です。
❹ 大臣認定擁壁製造工場認証を受け、品質管理の徹底された工場で製造されます。
❺ 全国各地の会員各社が統一した製品を供給する事ができます。
❻ 前壁に化粧(デザイン)を施すことも可能なため、「個性」と「調和」を選ぶことができます。
❼ 機械施工により省力化と工期の短縮が図れます。
❽ フェンスを擁壁天端に一体化して設置できます。
❾ 前壁がほぼ垂直であるので宅地の有効利用ができます。
❿ 擁壁背面の土質は、内部摩擦角がφ≧25°以上とφ≧30°以上の2種類から選定できます。
⓫ 擁壁背面の土の単位体積重量はγs=16 ~ 19kN/m3の範囲に対応できます。
⓬ 製造工場は、ハイタッチセンターの会員として全国にネットワーク化されています。
種類
ハイ・タッチウォール(耐震型)には2タイプあります。
●HTタイプ (High-Touch WallのHT)
・裏込め土は、内部摩擦角がφ≧30°の良質土が条件です。
・中地震及び大地震に同一の形状で対応可能です。
・基礎地盤は、内部摩擦角がφB≧30°の良質地盤が条件です。
・積載荷重は、10kN/m2又は15kN/m2に対応しています。
●HWタイプ (High-Touch WallのHW)
・裏込め土は、内部摩擦角がφ≧25°の土が条件です。
・中地震と大地震に対応するため、各々の規格の底版長です。
・製品高さHが3mを超え4m以下は、内部摩擦角が φB≧25°の基礎地盤が条件です。
・製品高さHが4mを超えるものは、内部摩擦角が φB≧30°の基礎地盤が条件です。
・積載荷重は、10kN/m2に対応しています。

HTタイプ(比較的良質地盤:裏込め土の内部摩擦角φ≧30°)
● 設計条件

※ 建築基準法施行令第88条1項による地域係数
● 形状

標準規格
設計水平震度:HTⅠ 中地震 kh=0.20 / HTⅡ 大地震 kh=0.20 / HTⅢ 大地震 kh=0.25

※呼び名の「兼」は直近上位の擁壁の型枠を兼用する場合を示します。
HWタイプ(一般的な地盤:裏込め土の内部摩擦角φ≧25°)
● 設計条件

※1 建築基準法施行令第88条1項による地域係数
※2 基礎地盤の内部摩擦角φBは以下のとおりです。 製品高さ3000を超え4000以下 φB≧25°以上 製品高さ4000を超え5000以下 φB≧30°以上が必要です。ご注意願います。
● 形状

標準規格
設計水平震度:HWⅠ中地震kh=0.20 / HWⅡ大地震kh=0.20
HWⅠ中地震とHWⅡは形状と配筋が同一のため、呼び名を「HW」に統一しています。

設計水平震度:HWⅢ 大地震kh=0.25

※1 呼び名の「兼」は直近上位の擁壁の型枠を兼用する場合を示します。
※2 呼び名HW4250は呼び名HW4500の規格の頭詰めになります。
※3 基礎地盤の内部摩擦角φBは以下のとおりです。
製品高さ3000を超え4000以下 φB≧25°以上
製品高さ4000を超え5000以下 φB≧30°以上が必要です。ご注意願います。
基礎地盤の必要地耐力
● HTタイプ:比較的良質地盤 裏込め土の内部摩擦角φ≧30°

※1 呼び名の「兼」は直近上位の擁壁の型枠を兼用する場合を示します。
※2 大臣認定における標準品の許容応力度に「短尺」製品の増加分を考慮した「長期」の値です。
● HWタイプ:一般的な地盤 裏込め土の内部摩擦角φ≧25°

※1 呼び名の「兼」は直近上位の擁壁の型枠を兼用する場合を示します。
※2 大臣認定における標準品の許容応力度に「短尺」製品の増加分を考慮した「長期」の値です。
※3 製品高さH4250はH4500の規格の頭詰めが標準となります。
築造仕様
● 一般的注意事項
ハイ・タッチウォールは、重量構造物です。したがって、擁壁背面及び基礎地盤の土質条件により、施工方法が異なりますので、 以下の事項に注意し確認してください。
①本擁壁は、設計載荷重の大きさ、地震時の水平震度、土質条件により、タイプが異なります。施工箇所の条件を十分把握し、 適合するものを選定してください。
②基礎地盤の許容応力度は、規定されている値以上の支持力を確保してください。
③HWタイプは、擁壁背面の「裏込め土」の内部摩擦角φと、擁壁底面下にある「基礎地盤」の内部摩擦角φBを分けてい ますのでご確認ください。
④HWタイプにおいて「裏込め土」がφ≧30°の場合又は岩盤の場合は、根入れ深さを浅くすることができます。
⑤排水側溝工事、のり面保護工事、山止め工事、杭地業工事、支持力増強のための地盤改良工事等については、宅地造成工 事の設計者及び施工者の責任のもと実施されるものとしています。
⑥隅角部は、現場打ちコンクリートで施工してください。
⑦擁壁前面はH/500の勾配を有していますので、施工時に考慮してください。
● 根入れ深さ
根入れの深さは、宅地造成等規制法施行令第8条 4項に則り、擁壁を岩盤に接着して設置する場合 を除き次の通りとしてください。

※ HTタイプはφ≧30°限定になります。

※ HTタイプはφ≧30°限定になります。

根入れ深さDf
● フェンスの取り扱い
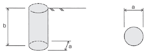
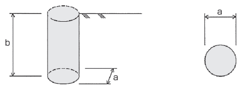
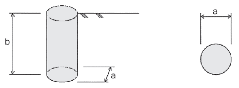
①ハイ・タッチウォールにフェンスを取り付ける場合は、予め工場で 天端にフェンス支柱を埋込む穴を配置します。
②フェンス支柱埋込み穴の深さはb=25cm、断面の投影幅は a=8cm以下、支柱の設置位置は、擁壁の天端厚さの中心線上 で±5cm以内の位置、かつ、擁壁両端から16.5cm以内の部分 を除く範囲が可能です。
③フェンスの種類は、自重の小さいネットフェンス、歩道用の防護柵 としてください。


フェンスについて
施工手順
● 基礎及び敷モルタルについて
①基礎材の厚さは、基礎コンクリート10cm以上、 基礎砕石20cm以上としてください。
②据付に際し、基礎コンクリート面と擁壁底版との間 に隙間が生じないように、厚さ2cm程度の良く締 固められた敷モルタルで不陸を処理してください。

● 透水層について
①たて壁の背面には、砂利又は宅地擁壁用透水マットによる 透水層を設けてください。
②擁壁背面の土砂が目地及び水抜穴から流出することを防止 するために、耐食性の吸出し防止フィルターをください。
③透水層の下部には止水コンクリートを設置してください。

● 施工フロー

施工事例
